找回密码
 注册
搜索
查看: 572|回复: 0

[哲史艺丛] 燥热的夏天,古人如何用“冰”来降温、保鲜或制作冷食

[复制链接]
发表于 2024-8-22 08:56 PM | 显示全部楼层 |阅读模式


燥热的夏天,古人如何用“冰”来降温、保鲜或制作冷食

 陈纳 历史学堂君 2024年05月12日 09:49

作者:陈纳
编辑:莉莉丝


引言:炎炎夏日,躲进空调房里吃冰淇淋和冰镇西瓜是现代人的无上享受。古代人在夏日虽没有空调制冷的待遇,但古人也知用冰降温,防腐保鲜或制作冷食,为燥热难耐的夏天增添一抹清凉。


我国是世界上用冰历史悠久的国家之一,不过古人在设备简陋的时代如何用冰呢?


IMG_6118.JPG

上图_ 古人避暑

 

  • 1、掌冰之事

    

3000年前的《诗经》中就存在商周时期的储冰劳动的场面,诗中写道:“二之日凿冰冲冲,三之日纳于凌阴。”因为用冰起初与献祭活动相关,所以当时的统治者将采冰、储冰视为一件大事,还设有专门机构和官吏管理这项事务。周代掌冰的官吏称为“凌人”,《周礼·天官·凌人》中记载了凌人的职责:


“凌人掌冰。正岁,十有二月,令斩冰,三其凌。春始治鉴,凡外内饔之膳羞鉴焉,凡酒浆之酒醴亦如之。祭祀共冰鉴,宾客共冰。大丧共夷槃冰。夏,颁冰掌事。秋,刷。”


详细描述了工作人员在冬日特定时候开始要凿冰、藏冰,春天来临,要开冰、出冰,并交代了冰的用途,冰除了用于冷藏食物和美酒外,也用于丧事中保存尸体。


IMG_6119.JPG

上图_ 晚清宫廷里的送冰的小工


《左传》中透露了这些冰具体来自何处,“古者曰在北陆而藏冰,西陆朝觌而出之。其藏之也,深山穷谷,涸阴互寒。”不必等冬日天寒地冻,冰可取自寒冷的地方,有的可能出自终年积雪的深山老林。


古代藏冰有固定的场所和技术,一般冰库都修筑在地面之下,有一类是专门用作藏冰的冰窖,通称凌阴。另一类用冰储存食物,如同冷藏库,称之为凌室、冰室、冰井等。


虽有对掌冰的诸多记载,但很长时间人们难以想象古代的凌阴究竟是什么样子,考古资料的实物发现为我们认识古代藏冰用冰提供了重要线索。


IMG_6120.JPG

上图_ 陕西凤翔姚家岗凌阴


IMG_6121.JPG

上图_ 凌阴闸门


1977年,在我国陕西凤翔姚家岗一处春秋时期的遗址,经过考证确认为凌阴遗址。整个遗址呈倒置的长方形棱台状,内有方形或圆形的柱洞构成柱网,辅助四面檐墙来支承建筑的重量,大体似一个“冰窖”。底部设有水道,与外河相通,用于排出过多的融水。窖底发现大量腐殖质土层,并在窖口发现一层层涂抹过的泥痕,当时窖底可能铺稻糠,窖口涂泥,冰上也用覆盖稻草,用来封闭隔热。


IMG_6122.JPG

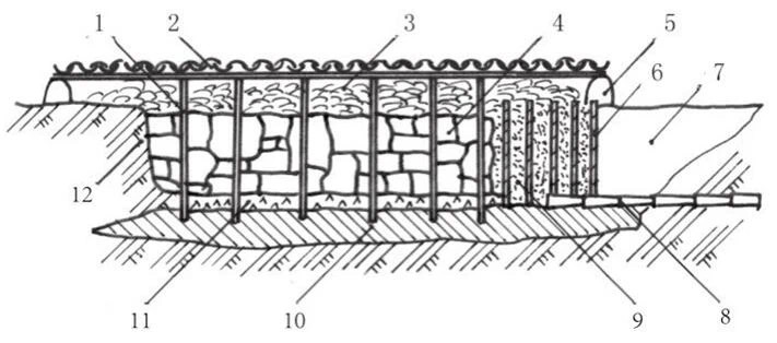
上图_ 凌阴剖面图,1网柱;2屋面;3草荐;4冰块;5檐墙;6槽门;7入门;8排水管;9稻糠;10夯土层;11铺设片岩层;12生土层

 

河南省的郑韩故城遗址和殷商大司空遗址均发现有宫殿区附设有储存物品的窖穴,可能属于凌阴遗址。


古人对冷藏库的记载到了魏晋南北朝之后十分丰富,说明用冰变得更为普及。如晋人夏侯湛《大暑赋》中就有“寒泉潜沸,冰井腾沫”来形容冰井;《水经注》载,魏武帝曹操在邺城修建了铜雀、金虎和冰井三台,冰井台规模宏大,高八丈,有屋百四十五间,上有冰室,室有数井,井深十五丈,藏冰及石墨。”


考古还发现了储冰的器物,即冰鉴,1977年在湖北战国时期的曾侯乙墓中出土了青铜冰鉴,造型精美,纹饰繁复。冰鉴是一件双层器皿,鉴内有一缶。夏季,鉴缶之间装冰块,缶内装酒或其他食物。


IMG_6123.JPG

上图_ 冰鉴,是古代暑天用来盛冰


  • 2、古人用冰做这些事

    

古人掌冰可见用冰之重要,古人藏冰可见用冰之不易,因而冰在古代是高级用品,和如今我们触手可及就能用冰大大不同,冰有特定的使用对象和专项事务,而且在用冰走下神坛步入生活中后,古人对冰的用途相当丰富。


人们要举行各种祭神祭祖仪式,上供的贡品一定要保持新鲜可口,否则就是不敬。而且祭献之后,还要分食祭品,以期得到神灵和先祖的福佑,称为“散胙”。这就要求祭祀的供品一定要新鲜,对其进行冷藏是必不可少的保存途径。


冰藏食物也可延到日常饮食,《周礼·天官》记载“凡外内饔之膳羞,鉴焉。凡酒浆之酒醴,亦如之。祭祀,共冰鉴,宾客,共冰。”可见,储冰冷藏食物已成为日常的习惯,冰用来冷却精美的烹调菜肴或甘甜的泉水等,不过珍贵的冰只能供王侯贵族或社会上层群体享用,是一种专用消费品。


IMG_6124.JPG

上图_ 古代的避暑建筑


冰雪除用于制作冷食和冷藏食品外,也用于防暑降温,古代其实也有简易的“空调”。


宫内的避暑设施不知制冷效果如何,但却是相当豪华“长松修竹,浓翠蔽日,层峦奇岫,静窈萦深,寒瀑飞空,下注大池可十亩。……御笐(活竹篱笆)两旁,各设金盆数十架,积雪如山。”要供给大面积的制冷降温,对冰雪量需求很大,对储冰能力要求也相当高。沉香亭,又称“凉殿”,是兴庆宫建筑群中的消夏纳凉场所,据考证复原,纳凉的“凉”来自亭外有水车在侍从的推动下喷洒冰水,使亭内清凉舒爽。


古人去世后忌立即下葬,往往将遗体停放几日,然而在盛夏之际如何保全遗体,实是一大难题。但早在西周始,古人已经利用冰来保存遗体了。据《周礼》及《仪礼》、《礼记》等史籍记载,每年夏历三月以后,凡一定官阶或身份的人去世,则先将冰置于盘中,再设床于盘上,不施席而将其尸移于床上,从而妥善地处理遗体。


IMG_6125.JPG

上图_ 古人避暑 古代商人在夏天贩卖冰块


  • 3、古人的时尚“冷食”


我国的冰食,出现甚早但比较简单,主要是利用冰雪来冷藏食物,在夏天可以得到解暑的口感。《楚辞·招魂》中有:“挫糟冻饮,酎清凉些。”起初冷饮主要是冰镇清酒等。


到了魏晋南北朝以后,由冷室的增加可见藏冰与用冰使用更为广泛,冷食的花样也随之丰富。宋陶榖《清异录·馔羞》载:“(唐敬宗宫中)清风饭……用水晶饭、龙晴粉、龙脑末、牛酪浆调。”描述了盛夏时皇帝吃到的冷食,种类多样可见一斑。


唐朝繁荣开放,市场上已出现卖冰的行为,用冰已经不是一种特供的消费品,而是深入到人们的生活中,成为普遍的享受。《唐摭言》中有“蒯人为商,卖冰于市”的记载,不过实际上价格不菲,平头百姓可能还是无缘。


卖冰业日盛,商人另辟蹊径,在冰中加糖,出现了类似现在的冰沙一类的冷。杜甫的诗里有:“竹深留客处,荷净纳凉时,公子调冰水,佳人雪藕丝。”调制的“冰水”和雪拌的听起来就清凉可口。


唐代还生产了著名的冷食“槐叶冷陶”,实际上是一种过水凉面,采青槐嫩叶捣碎后和入面粉,搓成细面条,煮熟再浸漂于冰水,泡好后以熟油浇拌加以冷藏,食用时加佐料调味,因其色鲜碧而口感清凉,实在是令人心旷神怡的解暑佳品。


IMG_6126.JPG

上图_ 宋朝普通百姓在古人避暑斗茶


宋代商业更加繁荣,在前朝冷饮市场的基础上更为改良,人们可品味大量冷饮冷食。


《东京梦华录》中写道:“夏月……冰糖冰雪冷元子……沙糖绿豆甘草冰雪凉水。”


宋周密《武林旧事·凉水》描述南宋京都临安的夏景,清凉饮料中有“雪泡缩脾饮”“白醪凉水”及“冰雪爽口之物”


《西湖老人繁盛录》记载六月初六西湖庙会盛况,仅冷饮就有近20种。书中列举的“诸般水名”有“漉梨浆、椰子酒、木瓜汁、皂儿水、甘豆糖、绿豆水”,还有“缩脾饮、卤梅水、江茶水、五苓散、大顺散、荔枝膏、白水、乳糖真雪”等。


IMG_6127.JPG

上图_ 南宋 佚名《槐荫消夏图》 夏天避暑


  • 4、结语


在技术尚不发达的古代,人们还是极尽所能为炎热的夏天创造清凉的快乐。虽然长久以来的采冰颇为原始,类似用火初期依靠上天“赏赐”,再小心翼翼维护火种一般,但后期的藏冰与用冰则是相当考验古代人的智慧。


同时,简简单单的冰被古人玩出多种花样,如今我们享受到的空调、冷食冷饮等都能从悠久的历史灵感中溯源。


参考资料:

【1】朱启新:《古人藏冰与用冰》,《中华文化画报》 2010 第1期。

【2】潘良炽:《中国古代藏冰用冰礼俗述论》,四川文理学院学报 2006 第16卷第6期。

【3】马溥编著:《通往绝对零度的道路:趣味低温科学技术史》

文字由历史大学堂团队创作,配图源于网络版权归原作者所有

您需要登录后才可以回帖 登录 | 注册

本版积分规则

手机版|小黑屋|www.hutong9.net

GMT-5, 2025-12-22 06:21 AM , Processed in 0.110867 second(s), 18 queries .

Powered by Discuz! X3.5

© 2001-2025 Discuz! Team.

快速回复 返回顶部 返回列表